服務熱線
021-33617555
全國服務熱線:
021-33617555
產品概述:
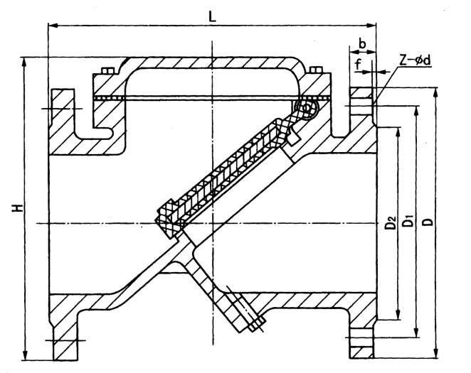
SFCV、HC44X橡膠瓣止回閥由閥體、閥蓋、閥瓣組成,主要用于給排水系統、石油、化工等工業部門的管道出口處,防止介質逆流。由于本產品的封圈采用傾斜設計,關閉時間短,可減少水錘壓力。閥瓣采用丁腈橡膠與鋼板經高溫壓制而成,耐沖刷,密封性能好,產品結構簡單、保養、維修、運輸均很方便。橡膠瓣止回閥采用內裝搖臂旋啟式結構,閥瓣繞轉軸作旋轉運動,閥瓣在流體壓力作用下開啟,流體從進口側流向出口側。當進口側壓力低于出口側時,閥瓣在流體壓差、本身重力等因素作用下自動關閉以防止流體倒流。
結構特點:
1、具有水頭損失小,不易堆積雜物,維修簡便等特性。
2、該閥采用全流面積式設計,具有水頭損失小,不易堆積雜務,維修簡便等特性。
3、該閥主要適用于給排水系統,可安裝于出水口處,以防止倒流及水錘對泵損害。
4、橡膠瓣由鋼板、鋼棒及強化尼龍布做襯底,外層披覆橡膠制成,閥瓣開關壽命較長。
主要技術參數:
公稱壓力:1.0~1.6MPa
公稱通經:50~600mm
適用介質:水及弱腐蝕性流體
適用溫度:0~80℃
法蘭標準:GB/T 17241.6 GB/T 9113
試驗標準:GB/T 13927 AP 1598
公稱壓力(Mpa) |
1.0 |
1.6 |
殼體試驗壓力(Mpa) |
1.5 |
2.4 |
密封試驗壓力(Mpa) |
1.1 |
1.76 |
適用溫度℃ |
<80 |
|
適用介質 |
清水、油品 |
|
主要零件材料:
閥體、閥蓋 |
鑄鐵、灰鑄鐵、碳剛(鑄鋼、WCB) |
閥瓣 |
橡膠組合件 |
彈簧 |
不銹鋼 |
橡膠止回閥:
結構特點及用途Structrues charcteristics and usahe
本閥閥瓣外層披覆橡膠制成,閥瓣開關壽命可達100萬次,采用全流面積式設計,具有水頭損失小,不易堆積雜物,維修簡單等特點。
適用于給排水管路系統,安裝于管路中或水泵出口處,以防止介質倒流及水錘對管路與泵的損害,本閥還可安裝在蓄水池進出口水的
旁通管上,以輔助池水倒流至給水系統中。


